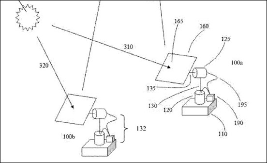
大家看出下图这是个什么东西了吗?这玩意儿最近出现在了 Google申请的一个专利中。这其实是一个日光反射装置,中央塔中的电脑和摄像头会自动判断太阳能板是否处在最佳的接收角度,否则将通过内置的传动装置将太阳能板调整到热效率最高的角度。

我们已经报道过很多 Google 投资太阳能电厂的新闻,看起来 Google 真的是准备在清洁能源领域大干一场了。充分高效的利用太阳能不仅可以满足 Google 办公室以及数据中心的用电需求,也许剩余部分还可以拿出来卖,说不定若干年后我们的电费就要交给 Google 了。
Copyright ©2018-2023 www.958358.com 粤ICP备19111771号-7 增值电信业务经营许可证 粤B2-20231006